Method of Analysis for Mat Foundation
The objective of the analysis for mat foundation is to find the bearing pressure underneath the mat. This depends upon the rigidity of the mat, rigidity of the superstructure and rigidity of the supporting soil. These factors make the determination of bearing pressure much complicated and necessitate some simplifying assumptions to be made. After the determination of bearing pressure, shear and moment are computed.
Conventional Method |Â Method of Analysis for Mat Foundation
The basic assumptions in conventional method are:
- Foundation is rigid relative to supporting soil and compressible soil is relatively shallow.
- The bearing pressure is assumed to be uniform such that centroid of the bearing pressure coincides with the line of action of the resultant of all forces acting on the foundation. In case of mat foundation it is difficult to coincide the line of action of resultant force with the line of action of the soil pressure and there always exists some eccentricity.
The procedure for the conventional design of a raft foundation consists of the following steps.
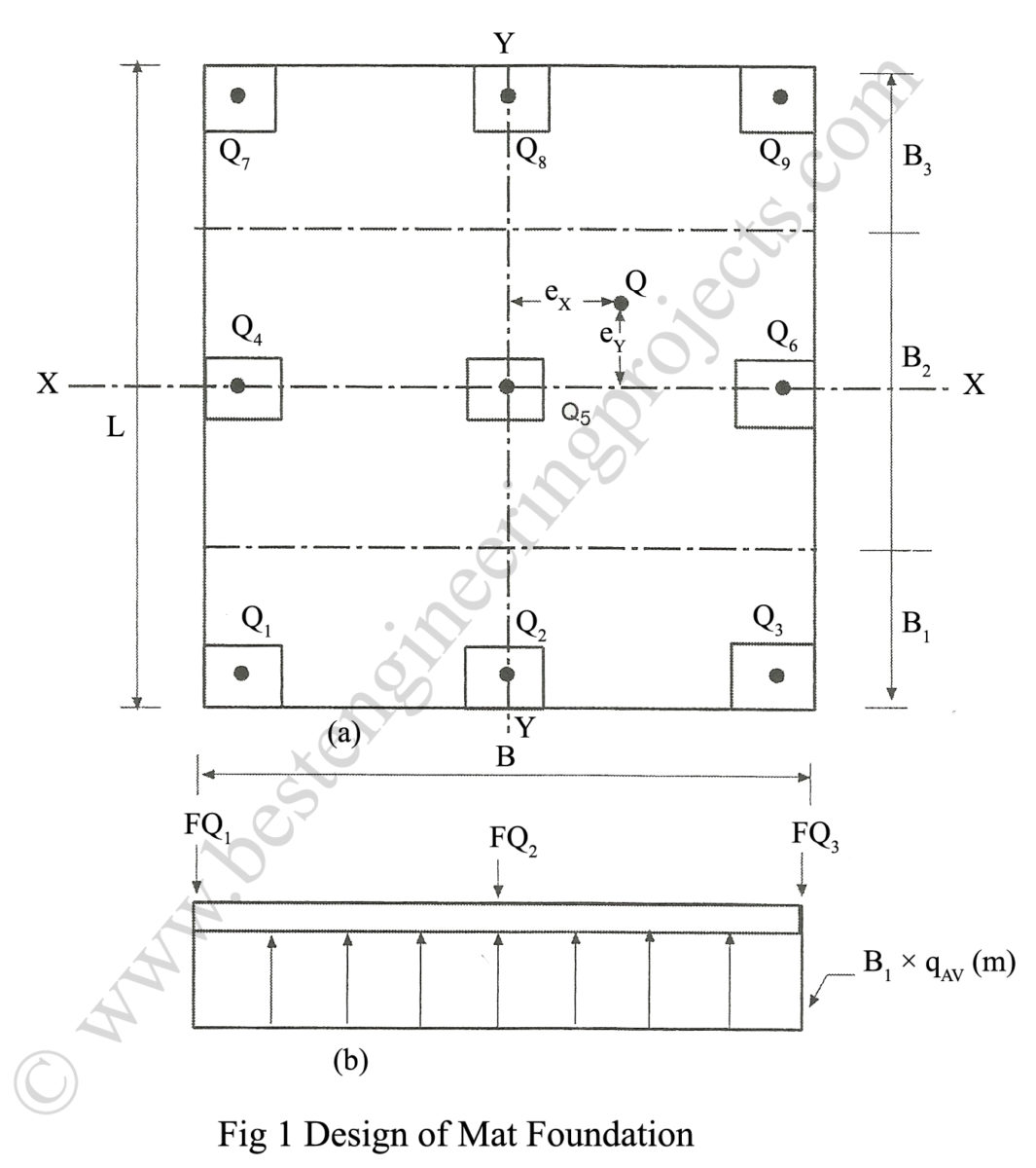
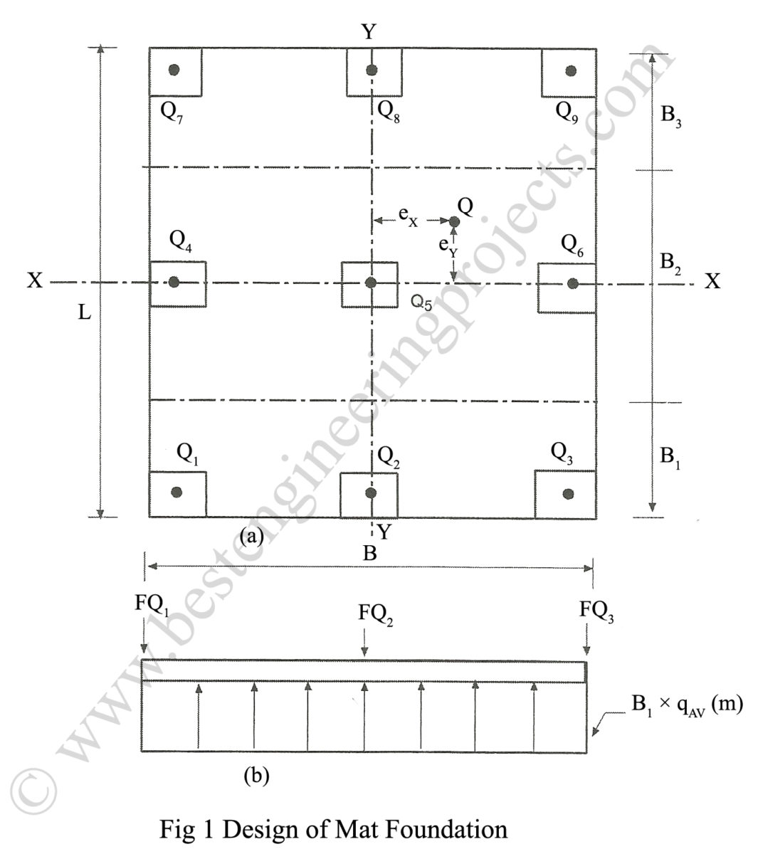
- Determine the line of action of all the loads acting on the raft as shown in Fig. 1. The self weight of raft is not considered, as it is taken directly by the soil.
- Determine pressure distribution.
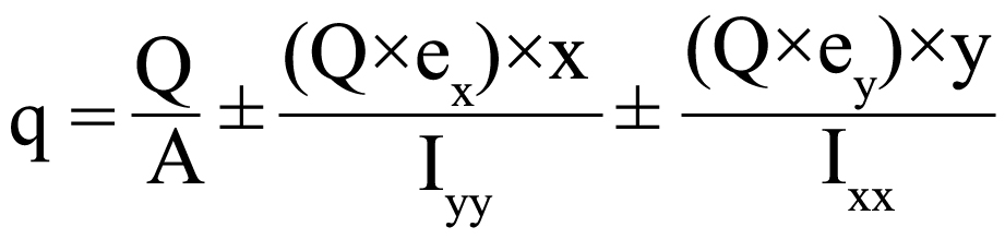
In general, a mat foundation is subjected to eccentricity on both x and y axis, then a situation as shown in Fig. 1 occurs and in such case, the pressure, q is given by,
———- (1)
Where, ex is the eccentricity along x-axis, ey is the eccentricity along y-axis, Q is the resultant of all the column loads, Ixx is the moment of inertia about y-axis and y is the distance of the point in y-axis from the neutral axis, Iyy is the moment of inertia about x-axis and x is the distance of the point in x-axis from the neutral axis.
The maximum soil pressure as obtained from the above equation should be less than the allowable soil pressure.
- Divide the slab into strips in both x and y directions. Each strip is assumed to act as independent beam subjected to constant soil pressure and column loads.
- Determine the modified column load as per the procedure described below.
Let us consider the strip carrying columns loads Q1, Q2 and Q3. Let B1 is the width of the strip. Let the average soil pressure on the strip be qav. Then the average total load on the strip is given by:
Qav = ½(downward load + upward force)
Qav = ½(Q1 + Q2 + Q3 + qavB1B)  ———-(2)
The column modification factor. F is given by:
 ———- (3)
- Column loads are multiplied by F to obtain modified column load.
- The moment and shear force diagrams are drawn for the modified column loads and the modified soil pressure.
- Design the individual strips for the bending moment and shear force as obtained in step 6. The raft is designed as an inverted floor supported at columns.
As the resultant column loads and resultant soil pressure are not equal, they do not have same line of action. The region is that the strip do not act independently as assumed and there is some shear transfer between adjoining strips. The analysis being approximate, the actual reinforcement provided is twice the computed value.


